
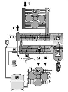
冷冻式干燥机采用了降温结露的工作原理,主要由热交换系统、制冷系统和电气控制系统三部分组成。压缩空气首先进入预冷却器进行气-气或气-水的热交换,除去一部分热能,然后进入冷热空气交换器,和已经从蒸发器出来被冷却到压力露点的冷空气进行热交换,使压缩空气的温度进一步降低。之后压缩空气进入蒸发器,与制冷剂进行热交换,压缩空气的温度降至0-8℃,空气中的水份在此温度下析出,通过气水分离器分离后,经过自动排水器排出。而干燥的低温空气则进入冷热空气交换器进行热交换,温度升高后输出。 以上就是网友分享的关于"冷冻式干燥机(冷干机)工作原理"的相关资料,希望对您有所帮助,感谢您对爱华网的支持!
爱华网本文地址 » http://www.aihuau.com/a/313551/479344245965.html
更多阅读

层压机工作原理层压机工作原理结构及特点1, 工作原理层压机顾名思义就是把多层物质压合在一起的机械设备。真空层压机就是在真空条件下把多层物质进行压合的机械设备。真空层压机应用于太阳能电池组装生产线上。我们称之为太阳能电池

喜欢喝咖啡的朋友都知道,一般家庭常用的是两种咖啡机,一种就是美式咖啡机也叫美式咖啡壶,另一种就是高压蒸汽式咖啡机下面简单的说下这两种咖啡机的工作原理:1、滴漏式咖啡机工作原理当接通电源打开开关,指示灯亮,加热管开始工作。当水箱

皮肤干燥是指因季节变化,缺水和贫血等原因,使得皮肤变厚、变粗糙。秋冬季节,人体的皮脂、水分分泌会逐渐减少,皮肤明显变得干燥,称为干性皮肤,尤其是中老年人因水分大量减少,皮肤表层会显得更粗燥,会常看见他们的手脚四肢、小腿处会有干裂、

冷冻机系指压缩制冷方式所采用的压缩机,因其使用条件和压缩工作介质的不同,它有不同于一般的空气压缩机。按冷冻机结构和工作原理上的差别,它与空气压缩机类似,也可分为活塞式、螺杆式、离心式等几种不同形式。冷冻机是压缩制冷设备中最

枕式包装机是目前国内最新型的自动连续收缩包装设备,采用普通的电炉丝加热方式,其特点为上温快,稳定性好,维修成本低等,收缩温度和电机传动速度稳定可调,且调节范围广;独创滚筒自转装置,可连续工作。故热收缩机具有设计先进,性能稳定可靠,节电